The .25 Dardick Tri-Bore Oil Drill Tround is a triple-bore tround ammunition developed by David Dardick for the oil industry, particularly in oil drilling.
Overview[]
When drilling an oil well is delayed with hard rock formations, the drill's rotational speeds decrease drastically while causing additional wear to its diamond tips.
In response to this problem, Tround International, Inc. and Dresser Industries collaborated and developed a method to increase performance in these cases, to between 200 and 400% in the initial tests.
It consists of installing a Dardick system device in the drill, loaded with specialized rock-piercing ceramic bullets. Shooting the projectiles would fracture the hard rock, facilitating the work of the drill. In side-by-side testing, the Tround-based drill bit showed little wear when compared to the conventional drill bit. The tri-bore cartridges, which launched three projectiles at each firing, have been shown to be superior to those of a single-projectile method, with the added advantage of giving a clear seismic signal distinct from the others used in prospecting.
The prototype test drill bits were mounted with a loader with 500 Dardick cartridges, but the commercial drill bits could carry up to 5,000 Trounds.
Design Details[]
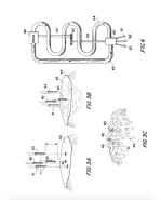
The tround consists of a two-piece plastic casing with three bores and a copper primer in a copper-washed steel battery cup. Each bore has a 47.2 grain (3.05 g), .25 caliber (6.35mm) ceramic bullet. These projectiles are designed to pierce through and fracture hard rock formations as a means of reducing mechanical wear on the drill bit.
Gallery[]
See also[]
- .17 Dardick Triplex Tround
- 5.6×57mm Triple-Bore Tround
- Dardick Tround
- H&R SPIW
- Multiplex ammunition
- Telescoped ammunition
- Dardick pistol
References[]
- .25 Dardick Tri-Bore on Municion.org (Spanish)
- Tround for oil well drilling on the cartridgecollectors.org forum







