The Kerfoot machine gun is an Australian conceptual multi-barrel machine gun designed by Ronald Kerfoot.[1]
Development[]
The Kerfoot multibarrel machine gun was designed in the 1980s. It is the general object to provide a multi-barrel machine gun for automatic firearm which is self operated, and can have continuous high rate of firing mode. The Kerfoot gun preferably may be set to fire only single shots or short bursts. Other objects which may be achieved in preferred embodiments of the invention are to provide such a gun with an easily variable rate of fire in which the barrels have a long life and so retain their accuracy, and which can be easily maintained for servicing in the field.
Overview[]
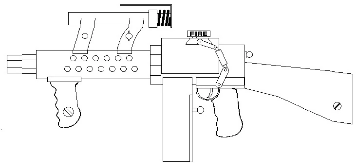
The Kerfoot multibarrel machine gun is a gas operated, 4 barreled machine gun. The barrel cluster is shrouded in an air cooled barrel jacket with a pistol grip portruding from underneath to handle recoil. The weapon comes with a fixed stock and an optical IR sight/carry handle.
Gallery[]
References[]
| ||||||||||||||||||||||||||||||||||||||||||||||||||||||||

