The Metal Storm 3GL is a grenade launcher produced by Metal Storm, using Metal Storm's stacked projectile technology.[1][2][3][4]
Design[]
The 3GL holds 3 superposed 40mm grenades that are fired electronically via induction coils. Underbarrel and standalone options exist.
The 3GL is derived from work on the AICW, and like that weapon does not use Metal Storm's usual preloaded munition tubes. Instead it is breech-loading, with the rounds designed so that the head of each grenade can slot into the base of the one in front, creating a munition stack. This is why induction coils are used for firing rather than the usual electrical contacts on Metal Storm munition tubes.
While the 3GL holds 3 grenade rounds that can be fired with very little delay, using the 3GL in an underslung rail causes some problems, as the 3GL is too large for carbines.[5]
Gallery[]
First Model[]
Second Model[]
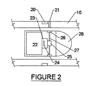
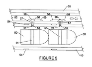
schematics[]
Miscellaneous[]
References[]
- ↑ https://web.archive.org/web/20090718173323/http://www.metalstorm.com:80/content/view/37/92
- ↑ https://www.theregister.co.uk/2007/11/19/metal_storm_robot_machinegun_grenade_gasm/
- ↑ http://www.australiandefence.com.au/D63E7FA5-5056-8C22-C91BC0147E89465A
- ↑ https://www.thefirearmblog.com/blog/2010/04/21/metal-storm-wins-research-contract/
- ↑ http://futurewarstories.blogspot.com/2018/01/fws-armory-metal-storm-by-yoel.html
External Links[]
- Metal Storm 3GL on YouTube (Alternate link)
- Metal Storm 3GL Assualt Weapon Integration
- Metal Storm 3GL
- https://defense-update.com/20090417_metal-storm-3gl.html
- https://www.thefirearmblog.com/blog/2009/10/02/metalstorm-3gl-grenade-launcher-wow/
- Metal Storm U.S. patent on grenade induction coil barrel and induction coil grenade ammunition
- Metal Storm Canadian patent on grenade launcher induction coil barrel and induction coil grenade ammunition













